CFMOTO pourrait entrer dans un territoire inexploré très bientôt, car les brevets révèlent qu'il a enquêté sur Winglets sur ses vélos qui peuvent être déployés sur commande.
Winglets on Motorbiks est apparu pour la première fois à l'ère moderne en 2010, avec le desmosedici GP10 de Ducati, les ramenant dans la conversation. D'autres marques avaient flirté avec l'idée, comme Suzuki, avec son RG500 1980, et MV Agusta, avec son vélo GP 500/4 1972. Le ducati, cependant, a été le premier d'un tsunami de winglets qui a rapidement poussé à la carrosserie du reste de la grille.
Comme c'est le sens avec la relation avec la route et le vélo de course, nous avons bientôt commencé à voir des winglets apparaître sur les vélos de route, de choses comme les V4 Panigale à des vélos comme celui que vous pouvez voir ici, 675SR de CFMOTO.
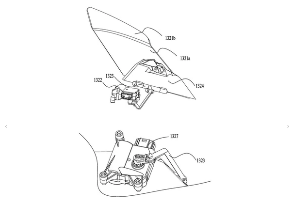
La conception desdits Winglets semble être assez simple, avec un actionneur assis à l'intérieur du carénage et un lien le fixant à Winglet. Ce qui n'est pas aussi clair, c'est exactement comment ils sont déployés. Certains rapports suggèrent que cela se fait automatiquement et à une certaine vitesse, bien qu'ils puissent également être liés à un mode d'équitation, où ils restent en position entièrement déployée.

Bien que le CFMOTO soit le premier vélo avec Winglets qui peut se déployer pendant que le vélo est en mouvement, ce n'est pas la première moto à présenter une aérodynamique active. Moto Guzzi a déjà un système sur son V100 Mandello, bien que sur le vélo italien, l'Aero ait un objectif légèrement différent.

Vous aimerez peut-être également lire notre Moto Guzzi V100 Mandello Review.
Ce que ces Winglets CFMOTO se retrouvent à voir, et bien que la marque ait les vélos sportifs 500SR et 675SR dans sa gamme, cette technologie pourrait être mieux adaptée aux sports V4 tant attendus de la CFMOTO, qui reste à lancer.